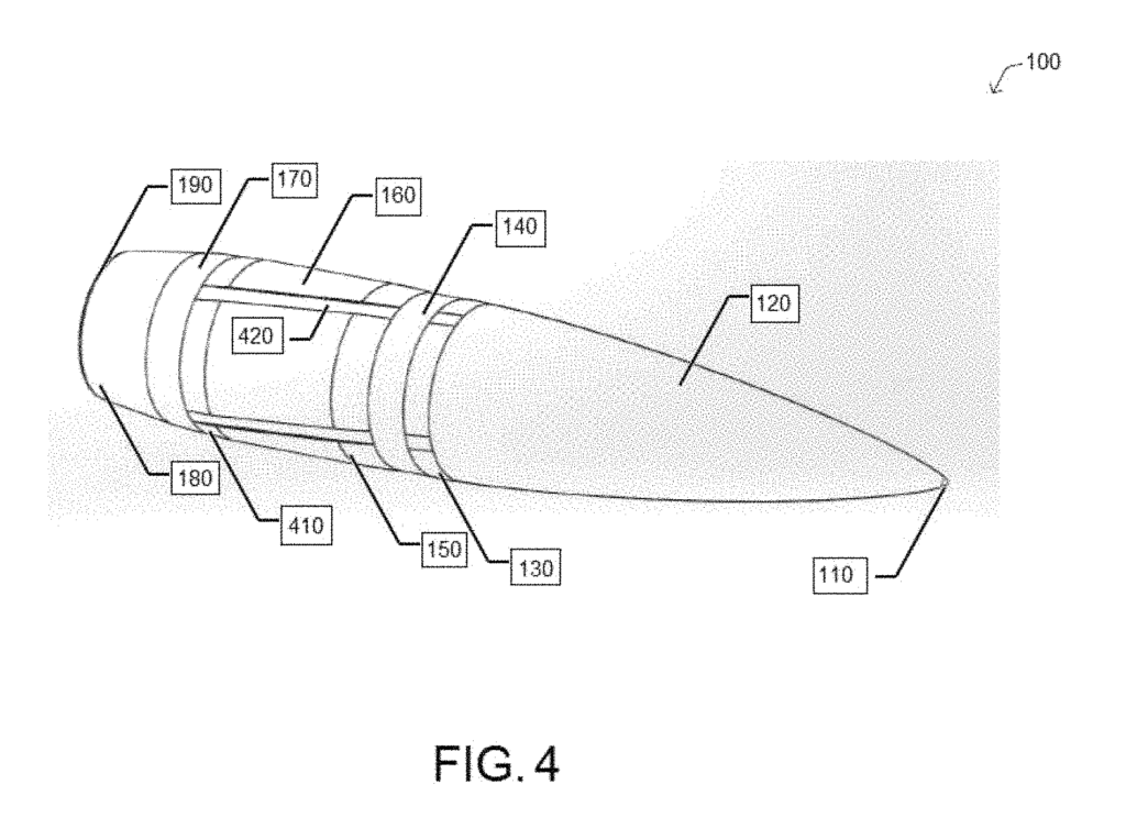
A projectile for use with a firearm having a rifled barrel including helical grooves extending longitudinally along an inner surface thereof includes: a substantially cylindrical projectile body having at a front end an ogival nose section and at a rear end a tail section, a driving band section formed on the projectile body between the nose section and the tail section having a first diameter, a bore rider section formed on the projectile body between the nose section and the tail section having a second diameter different from the first diameter, and a pilot band section formed on the projectile body forward of the driving band section having a third diameter different from the first diameter and the second diameter.